服務熱線:15195518515微 信:15195518515
郵箱號碼:1464856260@qq.com
網 址:http://www.0511tao.com
地 址:淮安市金湖縣理士大道61號

礦漿計量表
- 品*:JKM/凱銘儀表
- 型號:JKM-LDE
- 測量范圍:0.028~205258m3/h
- 精度等級:0.5級、1.0級
- 公稱通徑:DN10~DN2200
- 適用介質:污水、導電液體
- 工作壓力:1.6~6.3MPa
- 工作溫度:-20~+200℃
- 供電方式:220V 24V 鋰電池
- 訂貨號:BRF357484GBL
礦漿計量表產品種類及適用范圍
電磁流量計由電磁流量傳感器和電磁流量轉換器兩大部分組成,主要分為兩大類:一體型和分離型。
電磁流量計是基于法拉*電磁感應定律原理的流量儀表,用于測量封閉管道中導電液體和漿液的體積流量。它廣泛應用于石油化工、鋼鐵冶金、給水排水、水利灌溉、水處理、環保污水、造紙、醫藥、食品等工農業部門的生產過程的流量測量和控制。

礦漿計量表工作原理
流量計測量原理是基于法拉*電磁感應規律。流量計的測量管是一內襯絕緣材料的非導磁合金短管。兩只電*沿管徑方向穿通管壁固定在測量管上。其電*頭于襯里內表面基本齊平。勵磁線圈由雙向方波脈沖勵磁時,將在與測量管軸線垂直的方向上產生一磁通量密度為 B 的工作磁場。此時,如果具有一定電導率的流體流經測量管,將切割磁力線感應出電動勢 E。電動勢 E 正比于磁通量密度 B,測量管內徑 d 與平均流速 V的乘積、電動勢 E(流量信號)由電*檢出并通過電纜送至轉換器。轉換器將流量信號放大處理后,可顯示流體流量,并能輸出脈沖,模擬電流信號,用于流量的測量和控制。

式中:
E---------為電*間的信號電壓(v)
B---------磁通密度(T)
d---------測量管內徑(m)
V--------平均流速(m/s)
K---------常數
由于 K 為常數,勵磁電流是恒流的,故 B 也是常數,則由(1-1)式可知,體積流量 Q 與信號電壓 E 成正比,即流速感應的信號電壓 E 與體積流量 Q 成線性關系。因此,只要測量出 E 就可確定流量 Q,這就是電磁流量計的基本工作原理。
由(1-1)式可知,被測流體介質的溫度、密度、壓力、導電率、液固兩相流體介質的液固成分比等參數不會影響測量結果。至于流動狀態只要符合軸對稱流動(如層流或紊流)就不會影響測量結果的。因此說電磁流量計是一種真正的體積流量計。

礦漿計量表特點
1、儀表結構簡單、可靠,無可動部件,工作壽命長。
2、無截流阻流部件,不存在壓力損失和流體堵塞現象。
3、無機械慣性,響應快速,穩定性好,可應用于自動檢測、調節和程控系統。
4、測量精度不受被測介質的種類及其溫度、粘度、密度、壓力等物理量參數的影響。
5、采用聚四氟乙烯或橡膠材質襯里和Hc、Hb、316L、Ti等電*材料的不同組合可適應不同介質的需要。
6、備有管道式、插入式等多種流量計型號。
7、采用EEPROM存貯器,測量運算數據存貯保護安全可靠。
8、具備一體化和分離型兩種型式。
9、高清晰度LCD背光顯示。
礦漿計量表執行標準及技術參數
1 產品執行標準
產品性能符合電磁流量計行業標準 JB/T9248-2008 及 JJG1033-2007 要求。
2 主要技術指標

礦漿計量表儀表選型
儀表的選型是儀表應用中非常重要的工作,據有關資料統計,儀表在實際應用中有 2/3 的故障是儀表的錯誤選型和錯誤安裝造成的,請特別注意。具體注意事項如下:
1.被測流體名稱和其化學性能。
2.*大流量、*小流量和常用流量。推薦:常用流量應選擇在 1~3m/s 流速段內,如果不符,請用戶調整所選儀表的口徑規格。
3.*高工作壓力。
4.*高工作溫度、*低工作溫度。
5.被測流體必須具備一定的導電性,導電率≥5μs/cm。
6.*大流量和*小流量必須符合表 2-1 的數據。
7.實際*高工作壓力必須小于流量計的額定工作壓力(見傳感器銘*)。
8.*高工作溫度和*低工作溫度必須符合流量計規定的溫度要求(見傳感器銘*)。
9.確定是否有負壓情況存在。
10.電*和襯里材料的選擇應滿足流體介質的化學性能。

礦漿計量表公稱通徑與流量范圍

礦漿計量表電*材料的選擇

礦漿計量表襯里材料的選擇

礦漿計量表安裝點及安裝環境的選取
①選取要點:
系統正常運行時測量管必須保證滿管。如出現非滿管,流量計就不能正常工作,讀數可能是忽大忽小的隨機數;
傳感器上游要有一定的直管段,但其長度與其它流量儀表(如超聲波流量計)相比較要求較低。上游如有90°彎頭、T形管、同心異徑管、全開閘閥等擾流件,一般要求離電*中心線(不是傳感器進口斷面)有5倍直徑(5D)長度的直管段,如是上游有閘閥且沒有全部打開,一般要求10D長度的直管段;下游直管段長度一般為2D-3D,或更短;
1.安裝傳感器時盡量保持電*水平位置,以免氣泡覆蓋電*而出現讀數不穩;條件允許傳感器應安在自下而上流動的立管上,這樣管內不易存氣,同時保證工作時是滿管,而且無沉積物生成,還可以減少液體內固體顆粒及雜質對內襯的磨損;
2.注意管道液體流動方向與傳感器的標識一致;
3.盡可能避免測量管出現負壓,如傳感器不可安裝在泵的抽吸側;
4.盡可能避開附近的大電機、大變壓器等,以免引起電磁干擾;
5.選擇振動較小的位置安裝傳感器;
6.測量不同液體的混合介質時,傳感器應安裝在混合點的上游,如安裝在下游,必須裝在混合已經均勻或化學反應充分完成段;
7.盡可能避開周圍環境高濃度腐蝕性氣體;如是一體機要避免雨淋或浸沒以及陽光直照,環境的相對濕度和溫度要符合儀表說明書的要求;
②現場傳感器安裝位置的典型案例
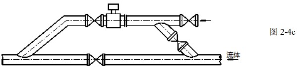
圖1:為了日后系統及流量計的檢修維護方便,條件允許應如此圖安裝旁通管道;
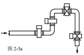
圖2:安在泵的抽吸側,會因管道出現負壓而損壞傳感器內襯,所以應安裝在泵出口側 處,而且N點距離泵盡可能遠些;
圖3:流量計應盡可能安裝在閥門的上游側處,不應安裝在下游側處, 如受現場條件限制必須安裝在d點,在閥門未全開時,d點距離閥門至少10D。
圖4:此圖中的e處、f處是優先選擇安裝點, g處是管道*高點易積聚氣泡不宜安裝,h處于下降管段,可能出現非滿管情況,故更不宜安裝。
圖5:水平管道應安裝在稍稍上升的管道區,如圖i處;
圖6:當流量計安裝在如圖示的落差管上時,如落差高度超過5米時,應在流量計的下游的*高處,如圖j 處,安裝排氣閥;
圖7:當敞口灌入或排放,流量計應安裝在管道的低段區,如圖k處。
③接地
本公司生產的管段式傳感器均是三電*式,其中底部的電*是接液電*,也就是通常說的接地電*,這樣在非金屬絕緣管道或有絕緣內襯的金屬管道上安裝傳感器時,一般情況下無需另加接地環。
出廠時儀表配2根接地線,安裝時要求在與儀表兩端連接的法蘭上各鉆一個M5×10的螺孔,把接地線用M5×8不銹鋼螺絲牢靠固定在兩邊法蘭上。如下圖示。
通常情況下無需單獨外加接地線,但傳感器上有預留的接地點,以備在特殊環境下如安裝環境有較大干擾時,通過該處外加接地線保證整個儀表可靠、良好接地以減少干擾,接地線可采用截面大于4mm2 的多股銅線,接地電阻應小于10Ω,且不能接在電機、變頻器或其它大電器設備的公共地線上,如下圖示。
礦漿計量表優點
(1)電磁流量計可用來測量工業導電液體或漿液。
(2)無壓力損失。
(3)測量范圍大,電磁流量變送器的口徑從2.5mm到2.6m。
(4)電磁流量計測量被測流體工作狀態下的體積流量,測量原理中不涉及流體的溫度、壓力、密度和粘度的影響。
電磁流量計缺點
(1)電磁流量計的應用有一定局限性,它只能測量導電介質的液體流量,不能測量非導電介質的流量,例如氣體和水處理較好的供熱用水。另外在高溫條件下其襯里需考慮。
(2)電磁流量計是通過測量導電液體的速度確定工作狀態下的體積流量。按照計量要求,對于液態介質,應測量質量流量,測量介質流量應涉及到流體的密度,不同流體介質具有不同的密度,而且隨溫度變化。如果電磁流量計轉換器不考慮流體密度,僅給出常溫狀態下的體積流量是不合適的。
(3)電磁流量計的安裝與調試比其它流量計復雜,且要求更嚴格。變送器和轉換器必須配套使用,兩者之間不能用兩種不同型號的儀表配用。在安裝變送器時,從安裝地點的選擇到具體的安裝調試,必須嚴格按照產品說明書要求進行。安裝地點不能有振動,不能有強磁場。在安裝時必須使變送器和管道有良好的接觸及良好的接地。變送器的電位與被測流體等電位。在使用時,必須排盡測量管中存留的氣體,否則會造成較大的測量誤差。
(4)電磁流量計用來測量帶有污垢的粘性液體時,粘性物或沉淀物附著在測量管內壁或電*上,使變送器輸出電勢變化,帶來測量誤差,電*上污垢物達到一定厚度,可能導致儀表無法測量。
(5)供水管道結垢或磨損改變內徑尺寸,將影響原定的流量值,造成測量誤差。如100mm口徑儀表內徑變化1mm會帶來約2%附加誤差。
(6)變送器的測量信號為很小的毫伏級電勢信號,除流量信號外,還夾雜一些與流量無關的信號,如同相電壓、正交電壓及共模電壓等。為了準確測量流量,必須消除各種干擾信號,有效放大流量信號。應該提高流量轉換器的性能,*好采用微處理機型的轉換器,用它來控制勵磁電壓,按被測流體性質選擇勵磁方式和頻率,可以排除同相干擾和正交干擾。但改進的儀表結構復雜,成本較高。
礦漿計量表正確選擇安裝位置
正確地選擇安裝位置和正確安裝流量計都是非常重要的環節,若在安裝環節失誤,輕者影響測量精度,重者會影響流量計的使用壽命,甚至會損壞流量計。選擇安裝位置時應注意以下問題:
1.測量電*的軸線必須近似于水平方向(與水平線夾角一般為 10°以內)

2.測量管道內必須完全充滿液體。
3.流量計的前方*少要有 5×D(D 為流量計內徑)長度的直管段,后方*少要有 2×D(D為流量計內徑)長度的直管段。

4.流體的流動方向和流量計的箭頭方向一致。
5.管道內要有真空會損壞流量計的內襯,需特別注意。
6.在流量計附近應無強電磁場,儀表安裝場所的磁場強度應小于 400A/m(避免安裝在大型電機或變壓器等設備附近)。
7.若測量管道有振動,在流量計的兩邊應有固定的支座。
8.測量不同介質的混合液時,混合點與流量計之間的距離*少要有 30×D(D 為流量計內徑)。
9.為方便今后流量計的清洗和維護,應安裝旁通管道。

10.安裝聚四氟乙烯內襯的流量計時,連接兩法蘭的螺栓應注意均勻擰緊,否則容易壓壞聚四氟乙烯內襯,*好用力矩扳手。
11.儀表應避免強烈振動和過大的溫度變化,同時要防止腐蝕性液體的滴漏對儀表造成損害。
12.如果安裝地點易受陽光曝曬,應當增加遮蔽設施。
13.安裝傳感器時,應保證測量管與工藝管道同軸。對 50mm 及以下公稱通徑的傳感器,其軸線偏離不超過 2mm。DN65~DN150 其軸線偏離不超過 3mm,≥DN200 其軸線偏離不超過 4mm。
14.法蘭之間加裝的法蘭墊圈,應有良好的耐腐蝕性能,該墊圈不得伸入管道內部。
15.緊固儀表螺栓、螺母,其螺紋應完整無損,潤滑良好。應依據法蘭尺寸、力矩大小采用力矩扳手緊固螺栓。
16.在傳感器鄰近管道進行焊接或火焰切割時,要采用隔離措施,防止襯里受熱,且必須確認儀表未通電運行,防止損壞儀表。
礦漿計量表安裝方式
應安裝在水平管道較低處和垂直向上處,避免安裝在管道的*高點和垂直向下處。

應安裝在管道的上升處。

在開口排放的管道安裝,應安裝在管道較低處。若管道落差超過 5m,在傳感器的下游安裝排氣閥且傳感器的下游應有一定的背壓。

應在傳感器的下游安裝控制閥和切斷閥,而不應安裝在傳感器上游。

傳感器絕對不能安裝在泵的進口處,應安裝在泵的出口處。

在測量井內安裝流量計的方式:1.入口 2.溢流管 3. 清洗孔 4.入口柵 5. 短管 6.流量計 7.出口 8.排放閥



