服務熱線:15195518515微 信:15195518515
郵箱號碼:1464856260@qq.com
網 址:http://www.0511tao.com
地 址:淮安市金湖縣理士大道61號

數顯液體流量計
- 品*:JKM/凱銘儀表
- 型號:JKM-LDE
- 測量范圍:0.028~205258m3/h
- 精度等級:0.5級、1.0級
- 公稱通徑:DN10~DN2200
- 適用介質:污水、導電液體
- 工作壓力:1.6~6.3MPa
- 工作溫度:-20~+200℃
- 供電方式:220V 24V 鋰電池
- 訂貨號:ZXI430825ZNK
數顯液體流量計產品種類及適用范圍
電磁流量計由電磁流量傳感器和電磁流量轉換器兩大部分組成,主要分為兩大類:一體型和分離型。
電磁流量計是基于法拉*電磁感應定律原理的流量儀表,用于測量封閉管道中導電液體和漿液的體積流量。它廣泛應用于石油化工、鋼鐵冶金、給水排水、水利灌溉、水處理、環保污水、造紙、醫藥、食品等工農業部門的生產過程的流量測量和控制。

數顯液體流量計產品特點
1.獨立性強,測量不受液體密度、粘度、溫度壓力和電導率等物理量變化的影響。
2.結構簡單,故障率低,測量管內無活動及阻流部件,不堵塞、無壓損。
3.適用范圍廣,量程比寬,適合導電液體,含有纖維、固體顆粒和懸浮物的液體。
4.安裝要求低,直管段要求低(前 5D 后 2D)。
5.工作穩定可靠,采用低頻方波勵磁,功耗小,零點穩定。
6.輸出信號多樣性,可輸出與流速成正比例的線性模擬信號、數字信號及報警信號。

數顯液體流量計工作原理
流量計測量原理是基于法拉*電磁感應規律。流量計的測量管是一內襯絕緣材料的非導磁合金短管。兩只電*沿管徑方向穿通管壁固定在測量管上。其電*頭于襯里內表面基本齊平。勵磁線圈由雙向方波脈沖勵磁時,將在與測量管軸線垂直的方向上產生一磁通量密度為 B 的工作磁場。此時,如果具有一定電導率的流體流經測量管,將切割磁力線感應出電動勢 E。電動勢 E 正比于磁通量密度 B,測量管內徑 d 與平均流速 V的乘積、電動勢 E(流量信號)由電*檢出并通過電纜送至轉換器。轉換器將流量信號放大處理后,可顯示流體流量,并能輸出脈沖,模擬電流信號,用于流量的測量和控制。

式中:
E---------為電*間的信號電壓(v)
B---------磁通密度(T)
d---------測量管內徑(m)
V--------平均流速(m/s)
K---------常數
由于 K 為常數,勵磁電流是恒流的,故 B 也是常數,則由(1-1)式可知,體積流量 Q 與信號電壓 E 成正比,即流速感應的信號電壓 E 與體積流量 Q 成線性關系。因此,只要測量出 E 就可確定流量 Q,這就是電磁流量計的基本工作原理。
由(1-1)式可知,被測流體介質的溫度、密度、壓力、導電率、液固兩相流體介質的液固成分比等參數不會影響測量結果。至于流動狀態只要符合軸對稱流動(如層流或紊流)就不會影響測量結果的。因此說電磁流量計是一種真正的體積流量計。

數顯液體流量計的主要技術數據
1、公稱通徑:DN6-2200mm
2、公稱壓力:0.6、1.0、1.6、2.5、4.0MPa(高壓可根據用戶要求加工)
3、精度:±0.2% ±0.5%(示值誤差)
4、測量范圍(流量):0-1m/s至0-10m/s
5、介質溫度:分體型-10℃~+80℃(PTFE和F46襯里-40℃~+180℃) 一體型-10℃~+80℃
6、環境溫度:-25℃~+60℃
7、環境濕度:5~100%RH(相對濕度)
8、介質電導率:大于20μS/cm
9、安裝:一體型、分體型
10、外殼防護等級:傳感器IP65、IP68可選(IP65:塵密、防噴水型,即可允許水龍頭 從任何方向對儀表噴水;IP68:塵密、潛水型,能長期在水中工作)轉換器IP65
11、電*結構:三電*結構、電*結構
12、被測介質*高溫度:氯丁橡膠襯里*高80℃,聚氨脂襯里*高80℃,聚四氟乙烯襯里*高180℃, 耐高溫橡膠襯里*高120℃
13、傳感器輸出信號:0-0.2mVp-p至0-2mVp-p
14、電*材料:不銹鋼OCrl8Nil2Mo2Ti、哈氏合金B、C、鈦Ti、鉭(Ta)、不銹鋼涂覆碳化鎢、特殊
15、防爆標志:ExmⅡT4,ExmdⅡBT4
數顯液體流量計選用要點
電磁流量計應用領域廣泛。大口徑儀表較多應用于給排水工程,中小口徑常用于固液雙相等難測流體或高要求場所,如測量造紙工業紙漿液和黑液、有色冶金業的礦漿、選煤廠的煤漿、化學工業的強腐蝕液體以及鋼鐵工業高爐風口冷卻水控制和監漏,長距離管道煤的水力輸送的流量測量和控制。小口徑、微小口徑常用于醫藥工業、食品工業、生物工程等有衛生要求的場所。
1、根據一體型和分離型電磁流量計的特點,選擇合適的類型。一體型流量計安裝敷線方便,精度中等,不宜在地面以下安裝,以防轉換器被水淹沒。分離型流量計,精確度較高,轉換器與傳感器異地安裝,更適合現場環境比較差(如有害、有毒、易受水淹沒等場所)的場合,但安裝、敷線較嚴格,否則易引入干擾信號。
2、選擇合適的電*形式。對于不產生結晶、結疤、不沾污電*的介質,可用標準電*,否則用式清垢電*或有清洗連接裝置的電*。對于測污泥場合,還可選用可換式電*。
3、根據被測介質的腐蝕性選擇電*材料。
電磁流量計電*選擇:
4、根據被測介質的腐蝕性、磨損性及溫度來選擇襯里材料。
5、防護等級。根據國標GB4208-1984約同于國際電工委員會IEC標準(IEC529-7B),外殼防護等級的標準為:IP65為防噴水型,即可允許水龍頭從任何方向對儀表噴水,噴水壓力為30Kpa。出水量為0.75m3/h,噴水口離儀表距離為3m;IP67為防浸水型,即儀表可全部浸入水中,*高點應在水下至少150cm,持續時間至少30min。IP68為潛水型,能長期在水下工作。根據以上規定,在地下安裝易被水淹的儀表應選IP68,儀表在地上安裝的宜選IP65。
6、根據連接儀表管道的絕緣性選擇接地。
7、根據被測介質的*高壓力選擇流量計的公稱壓力。對于介質壓力為10MPa、16MPa、25MPa、32MPa幾個等級的流量測量,應選用高壓型流量計。其*大口徑為100mm。
數顯液體流量計內襯材料的選擇
應根據被測介質的腐蝕性磨損性和溫度來選擇內襯材料
1、襯里材料:氯丁橡膠 Ne
耐腐蝕性能:耐一般低濃度酸堿鹽的腐蝕。
工作溫度:-20~70℃
適用范圍:工業用水污水低濃度酸堿鹽。
2、襯里材料:聚氨酯橡膠 PO
耐腐蝕性能:有*好的耐磨性能,專用于強磨損性漿液,不耐腐。
工作溫度:-10~60℃
適用范圍:含固體顆粒的液體(水泥漿礦漿等)。
3、襯里材料:聚全氟乙丙烯 FEP
耐腐蝕性能:1耐熱耐腐蝕性與PTFE相當。2機械強度高,抗磨損性能好。3內表光滑,不易粘附沉淀物。4有很好的耐負壓,抗真空作用。
工作溫度:-40~180℃
適用范圍:除砂漿等強磨損性介質外的所有流體。與PTFE一樣,能用于飲料等有衛生要求的介質。
4、襯里材料:聚四氟乙烯 PTFE
耐腐蝕性能:幾乎可以抵抗所有化學介質的腐蝕,抗磨損性能較差。
工作溫度:-40~180℃
適用范圍:不能用于負壓管道及磨損性較強的流體。
數顯液體流量計電*的選擇
應根據被測流體的腐蝕性來選擇電*的材料,請查有關手冊,對于特殊流體應作腐蝕性試驗
1、材料:316L不銹鋼(V)
耐腐蝕性能:1適用于工業、生活用水,原水井水,城市污水等中性溶液;2弱腐蝕性酸、堿、鹽介質如碳酸、醋酸等;
2、材料:哈氏合金C(HC)
耐腐蝕性能:1適用于耐氧化性酸,如硝酸、混酸、鉻酸與硫酸的混合物;2耐氧化性鹽類或其它氧化劑環境的腐蝕如Fe、Cu;3對海水、堿溶液,氧化物溶液有*好的耐腐蝕性;4不適用:鹽酸;
3、材料:哈氏合金B(HB)
耐腐蝕性能:1對于非氧化酸、堿、鹽如硫酸、磷酸、氫氟酸有良好的腐蝕性;2不適用:硝酸;
4、材料:鈦(Ti)
耐腐蝕性能:耐海水,各種氯化物忽然次氯酸鹽及多種氫氧化物的腐蝕;
5、材料:鉭(Ta)
耐腐蝕性能:除了氫氟酸外,幾乎能耐一切化學介質的腐蝕。但價格昂貴;
6、材料:鉑(Pt)
耐腐蝕性能:適用所有的酸堿鹽溶液(發煙硫酸及硝酸);
7、材料:碳化鎢(W)
耐腐蝕性能:具有優異的耐磨性能,專用于泥漿、紙漿等磨損性介質;
數顯液體流量計選型表

數顯液體流量計正確選擇安裝位置
正確地選擇安裝位置和正確安裝流量計都是非常重要的環節,若在安裝環節失誤,輕者影響測量精度,重者會影響流量計的使用壽命,甚至會損壞流量計。選擇安裝位置時應注意以下問題:
1.測量電*的軸線必須近似于水平方向(與水平線夾角一般為 10°以內)

2.測量管道內必須完全充滿液體。
3.流量計的前方*少要有 5×D(D 為流量計內徑)長度的直管段,后方*少要有 2×D(D為流量計內徑)長度的直管段。

4.流體的流動方向和流量計的箭頭方向一致。
5.管道內要有真空會損壞流量計的內襯,需特別注意。
6.在流量計附近應無強電磁場,儀表安裝場所的磁場強度應小于 400A/m(避免安裝在大型電機或變壓器等設備附近)。
7.若測量管道有振動,在流量計的兩邊應有固定的支座。
8.測量不同介質的混合液時,混合點與流量計之間的距離*少要有 30×D(D 為流量計內徑)。
9.為方便今后流量計的清洗和維護,應安裝旁通管道。

10.安裝聚四氟乙烯內襯的流量計時,連接兩法蘭的螺栓應注意均勻擰緊,否則容易壓壞聚四氟乙烯內襯,*好用力矩扳手。
11.儀表應避免強烈振動和過大的溫度變化,同時要防止腐蝕性液體的滴漏對儀表造成損害。
12.如果安裝地點易受陽光曝曬,應當增加遮蔽設施。
13.安裝傳感器時,應保證測量管與工藝管道同軸。對 50mm 及以下公稱通徑的傳感器,其軸線偏離不超過 2mm。DN65~DN150 其軸線偏離不超過 3mm,≥DN200 其軸線偏離不超過 4mm。
14.法蘭之間加裝的法蘭墊圈,應有良好的耐腐蝕性能,該墊圈不得伸入管道內部。
15.緊固儀表螺栓、螺母,其螺紋應完整無損,潤滑良好。應依據法蘭尺寸、力矩大小采用力矩扳手緊固螺栓。
16.在傳感器鄰近管道進行焊接或火焰切割時,要采用隔離措施,防止襯里受熱,且必須確認儀表未通電運行,防止損壞儀表。
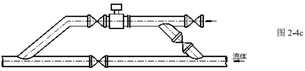
數顯液體流量計安裝方式
應安裝在水平管道較低處和垂直向上處,避免安裝在管道的*高點和垂直向下處。

應安裝在管道的上升處。

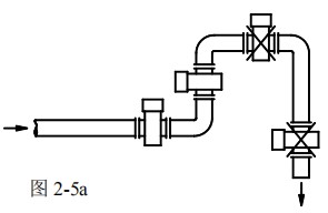
在開口排放的管道安裝,應安裝在管道較低處。若管道落差超過 5m,在傳感器的下游安裝排氣閥且傳感器的下游應有一定的背壓。

應在傳感器的下游安裝控制閥和切斷閥,而不應安裝在傳感器上游。

傳感器絕對不能安裝在泵的進口處,應安裝在泵的出口處。

在測量井內安裝流量計的方式:1.入口 2.溢流管 3. 清洗孔 4.入口柵 5. 短管 6.流量計 7.出口 8.排放閥



