服務熱線:15195518515微 信:15195518515
郵箱號碼:1464856260@qq.com
網 址:http://www.0511tao.com
地 址:淮安市金湖縣理士大道61號

大口徑電磁流量計
- 品*:JKM/凱銘儀表
- 型號:JKM-LDE
- 測量范圍:0.028~205258m3/h
- 精度等級:0.5級、1.0級
- 公稱通徑:DN10~DN2200
- 適用介質:污水、導電液體
- 工作壓力:1.6~6.3MPa
- 工作溫度:-20~+200℃
- 供電方式:220V 24V 鋰電池
- 訂貨號:MRD410180TBV
大口徑電磁流量計產品種類及適用范圍
電磁流量計由電磁流量傳感器和電磁流量轉換器兩大部分組成,主要分為兩大類:一體型和分離型。
電磁流量計是基于法拉*電磁感應定律原理的流量儀表,用于測量封閉管道中導電液體和漿液的體積流量。它廣泛應用于石油化工、鋼鐵冶金、給水排水、水利灌溉、水處理、環保污水、造紙、醫藥、食品等工農業部門的生產過程的流量測量和控制。

大口徑電磁流量計的優點
主要體現在以下幾個方面:
⑴壓力損失相對較小。電磁流量計的傳感器結構簡單,測量管內沒有可動部件,也沒有任何阻礙流體流動的節流部件,當流體通過流量計時不會引起任何附加的壓力損失,流量計的阻力僅是同一長度管道的沿程阻力,是流量計中運行能耗*低的流量儀表之一。
⑵可測量贓污介質、腐蝕性介質及懸濁性液固兩相流的流量。電磁流量計的測量通道是一段無阻流檢測件的光滑直管,因不易阻塞適用于測量含有固體顆粒或纖維的液固二相流體,如紙漿、煤水漿、礦漿、泥漿和污水等;電磁流量計易于選擇與流體接觸件的材料品種,可應用于腐蝕性流體。
⑶電磁流量計所測得的體積流量,實際上不受流體密度、粘度、溫度、壓力和電導率(只要在該儀表的要求的臨界值以上)變化明顯的影響,因此,電磁流量計經水標定后,可以用來測量其它導電性液體的流量。
⑷量程范圍寬。量程比通常為20:1~100:1,甚至更大。此外電磁流量計的輸出只與被測介質的平均流速成正比,而與軸對稱分布下的流動狀態(層流或紊流)無關。
⑸口徑范圍寬,從幾個毫米一直到幾米。
⑹電磁流量計無機械慣性,反應靈敏,可以測量瞬時脈動流量,也可測量正反兩個方向的流量。
大口徑電磁流量計測量原理
1)概述
依據:
據法拉*電磁感應定律,測量管道內的流動的導電液體(等效于許多連續的導電薄圓盤)做垂直于磁場的運動,產生感應電動勢,電勢大小與流量相關。
磁場:
恒定磁場:適于測量時不易產生*化現象的非電解液;
交變磁場:工業用的大部分形式(可減小*化現象)。
根據法拉*電磁感應定律,當一導體在磁場中運動切割磁力線時,在導體的兩端即產生感生電勢E,其方向由右手定則確定,其大小與磁場的磁感應強度B,導體在磁場內的長度L及導體的運動速度u成正比,如果B,L,u三者互相垂直,則E = BLu
2)測量模型
感應電勢的方向由右手定則確定,大小由下式決定:
大口徑電磁流量計產品特點
1.獨立性強,測量不受液體密度、粘度、溫度壓力和電導率等物理量變化的影響。
2.結構簡單,故障率低,測量管內無活動及阻流部件,不堵塞、無壓損。
3.適用范圍廣,量程比寬,適合導電液體,含有纖維、固體顆粒和懸浮物的液體。
4.安裝要求低,直管段要求低(前 5D 后 2D)。
5.工作穩定可靠,采用低頻方波勵磁,功耗小,零點穩定。
6.輸出信號多樣性,可輸出與流速成正比例的線性模擬信號、數字信號及報警信號。
大口徑電磁流量計執行標準及技術參數
1 產品執行標準
產品性能符合電磁流量計行業標準 JB/T9248-2008 及 JJG1033-2007 要求。
2 主要技術指標

大口徑電磁流量計儀表選型
儀表的選型是儀表應用中非常重要的工作,據有關資料統計,儀表在實際應用中有 2/3 的故障是儀表的錯誤選型和錯誤安裝造成的,請特別注意。具體注意事項如下:
1.被測流體名稱和其化學性能。
2.*大流量、*小流量和常用流量。推薦:常用流量應選擇在 1~3m/s 流速段內,如果不符,請用戶調整所選儀表的口徑規格。
3.*高工作壓力。
4.*高工作溫度、*低工作溫度。
5.被測流體必須具備一定的導電性,導電率≥5μs/cm。
6.*大流量和*小流量必須符合表 2-1 的數據。
7.實際*高工作壓力必須小于流量計的額定工作壓力(見傳感器銘*)。
8.*高工作溫度和*低工作溫度必須符合流量計規定的溫度要求(見傳感器銘*)。
9.確定是否有負壓情況存在。
10.電*和襯里材料的選擇應滿足流體介質的化學性能。

大口徑電磁流量計公稱通徑與流量范圍

大口徑電磁流量計電*材料的選擇

大口徑電磁流量計襯里材料的選擇

大口徑電磁流量計選用及安裝要求
被測流體必須是導電液體。不能測氣體、蒸汽、石油制品、甘油、酒精及純凈水等;
量程的選擇:常用流量*好超過滿量程的50%。常用流速為2~4m/s*合適;
壓力的選擇:使用壓力必須低于電磁流量計額定工作壓力,一般不超過16×105Pa;
溫度的選擇。被測介質溫度不能超過村里材料的容許使用溫度,一般≤200°C。
大口徑電磁流量計安裝注意事項
推薦垂直安裝,且被測流體是自下而上流動。也可水平安裝,但要使兩電*在同一水平面上,要保證測量導管都充滿液體。
流量計的外殼、屏蔽線、測量導管都要接地。要求單獨設置接地點,不要連接在電機或上、下管道上。(因信號較弱,滿量程時只有幾毫伏,且流量很小時,只有幾微伏,外界稍有干擾就會影響測量精度。)
安裝地點要遠離一切磁源。(如大功率電機、變壓器等)
流量計前必須有10D左右的直管段,以消除各種局部阻力對流線分布對稱性的影響。
使用電磁流量計時要注意
⑴不能用來測量氣體、蒸汽以及含有大量氣體的液體。
⑵不能用來測量電導率很低的液體介質,如對石油制品或有機溶劑等介質。
⑶普通工業用電磁流量計由于測量管內襯材料和電氣絕緣材料的限制,不能用于測量高溫介質;如未經特殊處理,也不能用于低溫介質的測量,以防止測量管外結露(結霜)破壞絕緣。
大口徑電磁流量計正確選擇安裝位置
正確地選擇安裝位置和正確安裝流量計都是非常重要的環節,若在安裝環節失誤,輕者影響測量精度,重者會影響流量計的使用壽命,甚至會損壞流量計。選擇安裝位置時應注意以下問題:
1.測量電*的軸線必須近似于水平方向(與水平線夾角一般為 10°以內)

2.測量管道內必須完全充滿液體。
3.流量計的前方*少要有 5×D(D 為流量計內徑)長度的直管段,后方*少要有 2×D(D為流量計內徑)長度的直管段。

4.流體的流動方向和流量計的箭頭方向一致。
5.管道內要有真空會損壞流量計的內襯,需特別注意。
6.在流量計附近應無強電磁場,儀表安裝場所的磁場強度應小于 400A/m(避免安裝在大型電機或變壓器等設備附近)。
7.若測量管道有振動,在流量計的兩邊應有固定的支座。
8.測量不同介質的混合液時,混合點與流量計之間的距離*少要有 30×D(D 為流量計內徑)。
9.為方便今后流量計的清洗和維護,應安裝旁通管道。

10.安裝聚四氟乙烯內襯的流量計時,連接兩法蘭的螺栓應注意均勻擰緊,否則容易壓壞聚四氟乙烯內襯,*好用力矩扳手。
11.儀表應避免強烈振動和過大的溫度變化,同時要防止腐蝕性液體的滴漏對儀表造成損害。
12.如果安裝地點易受陽光曝曬,應當增加遮蔽設施。
13.安裝傳感器時,應保證測量管與工藝管道同軸。對 50mm 及以下公稱通徑的傳感器,其軸線偏離不超過 2mm。DN65~DN150 其軸線偏離不超過 3mm,≥DN200 其軸線偏離不超過 4mm。
14.法蘭之間加裝的法蘭墊圈,應有良好的耐腐蝕性能,該墊圈不得伸入管道內部。
15.緊固儀表螺栓、螺母,其螺紋應完整無損,潤滑良好。應依據法蘭尺寸、力矩大小采用力矩扳手緊固螺栓。
16.在傳感器鄰近管道進行焊接或火焰切割時,要采用隔離措施,防止襯里受熱,且必須確認儀表未通電運行,防止損壞儀表。
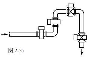
大口徑電磁流量計安裝方式
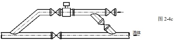
應安裝在水平管道較低處和垂直向上處,避免安裝在管道的*高點和垂直向下處。

應安裝在管道的上升處。

在開口排放的管道安裝,應安裝在管道較低處。若管道落差超過 5m,在傳感器的下游安裝排氣閥且傳感器的下游應有一定的背壓。

應在傳感器的下游安裝控制閥和切斷閥,而不應安裝在傳感器上游。

傳感器絕對不能安裝在泵的進口處,應安裝在泵的出口處。

在測量井內安裝流量計的方式:1.入口 2.溢流管 3. 清洗孔 4.入口柵 5. 短管 6.流量計 7.出口 8.排放閥



