服務熱線:15195518515微 信:15195518515
郵箱號碼:1464856260@qq.com
網 址:http://www.0511tao.com
地 址:淮安市金湖縣理士大道61號

液氯流量計
- 品*:JKM/凱銘儀表
- 型號:JKM-LDE
- 測量范圍:0.028~205258m3/h
- 精度等級:0.5級、1.0級
- 公稱通徑:DN10~DN2200
- 適用介質:污水、導電液體
- 工作壓力:1.6~6.3MPa
- 工作溫度:-20~+200℃
- 供電方式:220V 24V 鋰電池
- 訂貨號:PKX679222TPL
液氯流量計產品種類及適用范圍
電磁流量計由電磁流量傳感器和電磁流量轉換器兩大部分組成,主要分為兩大類:一體型和分離型。
電磁流量計是基于法拉*電磁感應定律原理的流量儀表,用于測量封閉管道中導電液體和漿液的體積流量。它廣泛應用于石油化工、鋼鐵冶金、給水排水、水利灌溉、水處理、環保污水、造紙、醫藥、食品等工農業部門的生產過程的流量測量和控制。

液氯流量計產品特點
1、測量不受流體密度、粘度、溫度、壓力和電導率變化的影響;
2、測量管內無阻礙流動部件,無壓損,直管段要求較低;
3、系列公稱通徑DN15~DN3000。傳感器襯里和電*材料有多種選擇;
4、轉換器采用新穎勵磁方式,功耗低、零點穩定、精確度高。流量范圍度可達1500:1;
5、轉換器可與傳感器組成一體型或分離型;
6、轉換器采用16位高性能微處理器,2x16LCD顯示,參數設定方便,編程可靠;
7、為雙向測量系統,內裝三個積算器:正向總量、反向總量及差值總量;可顯示正、反流量,并具有多種輸出:電流、脈沖、數字通訊、HART;
8、轉換器采用表面安裝技術(SMT),具有自檢和自診斷功能;
液氯流量計技術參數
1、執行標準:JB/T 9248-1999;
2、公稱通徑:15、20、25、32、40、50、65、80、100、125、150、200、250、300、350、400、450、500、600、700、800、900、1000、1200、1400、1600、1800、2000、2200、2400、2600、2800、3000;
3、*高流速:15m/s;
4、精確度:DNl5-DN600 示值的±0.3%(流速≥1m/s);±3mm/s(流速<1m/s),DN700-DN3000 示值的±0.5%(流速≥0.8m/s);±4mm/s(流速<0.8m/s);
5、流體電導率:≥5uS/cm;
6、公稱壓力:DNl5~DN150 4.0MPa,DNl5~DN600 1.6MPa,DN200~DN1000 1.0MPa,DN700~DN3000 0.6MPa,特殊訂貨 6.3、10MPa;
7、環境溫度:傳感器 -25℃- 60℃,轉換器及一體型 -10℃- 60℃;
8、襯里材料:聚四氟乙烯、聚氯丁橡膠、聚氨酯、聚全氟乙丙烯(F46)、加網PFA;
9、*高流體溫度一體型:70℃;
*高流體溫度分離型:聚氯丁橡膠襯里 80℃;120℃(訂貨時注明),聚氨酯襯里 80℃,聚四氟乙烯襯里 100℃;150℃(訂貨時注明),聚全氟乙丙烯(F46) 100℃;150℃(訂貨時注明),加網PFA 100℃;150℃(訂貨時注明);
10、信號電*和接地電*材料:不銹鋼0Crl8Nil2M02Ti、哈氏合金C、哈氏合金B、鈦、鉭、鉑/銥合金、不銹鋼涂覆碳化鎢;
11、電*機構:DN300-DN3000;
12、連接法蘭材料:碳鋼;
13、接地法蘭材料:不銹鋼1Crl8Ni9Ti;
14、進口保護法蘭材料:DN65-DNl50 不銹鋼1Crl8Ni9Ti,DN200~DNl600 碳鋼十不銹鋼1Crl8Ni9Ti;
15、外殼防護:DNl5~DN3000分離型橡膠或聚氨酯襯里傳感器 IP65或IP68,其他傳感器、一體型流量計和分離型轉換器 IP65;
16、間距(分離型):轉換器距離傳感器一般不超過100m;
液氯流量計工作原理
電磁流量計所依據的基本理論是法拉*電磁感應定律。當導體切割磁力線運動時,導體內將產生感應電動勢。根據該原理,可測量管內流動的導電流體的體積,導電流體流動的方向與電磁場的方向垂直,在導管垂直方向施加一個交變的磁場,并在有絕緣襯里的導管內壁兩側安裝一對電*,兩電*的連線既與導管軸線垂直,又與磁場方向垂直,當導電液體流經導管時,因切割磁力線,兩個電*上就產生感應電動勢UE。
傳感器導管內徑D是固定的,通過勵磁線圈的勵磁電流是恒定值時,磁感應強度B也是恒定值,因此,平均流速V或流量QV(QV=лD2/4·V)與感應電動勢UE的大小成正比例關系。
液氯流量計轉換器技術數據
1、電源:交流 85-265V,45-400Hz,直流 11-40V;
2、操作鍵和顯示按鍵式:4個薄膜按鍵可設定選擇全部參數,也可利用PC機(RS232)對轉換器設定編程;3行LCD寬視角、寬溫、帶背光顯示;*1行顯示流量值;*2行顯示流量單位;*3行顯示流量百分比、正向總量、反向總量、差值總量、報警、流速。
操作鍵和顯示磁鍵式:2個磁鍵用于顯示參數的選擇和復位,利用PC機(RS232)對轉換器設定編程;2行LCD寬視角、寬溫、帶背光顯示;*1行:磁鍵選擇:顯示流量百分比、正向總量、反向總量、差值總量、報警、流速。*2行:顯示流量。
3、內部積算器:正向總量、反向總量及差值總量。
4、輸出信號單向模擬輸出:全隔離,負載≤600D.(20mA時);上限:0-21mA可選,每檔lmA;下限:0-21mA可選,每檔1mA;正、反向流量輸出方式編程。
輸出信號雙向模擬輸出:下限限制為。或4mA,其他同單向模擬輸出。
輸出信號雙向脈沖輸出:兩路輸出分別對應正向和反向流量,頻率0~800Hz,上限1-800Hz可選,每檔IHz;方波或選定脈寬,選定脈寬上限2.5S,每檔1ms;無源隔離晶體管開關輸出,可吸收250mA的電流,耐壓35V。
輸出信號雙路報警輸出:可報警(編程)高/低流量、空管、故障狀態、正,,反向流量、模擬量超量程、脈沖量超量程、脈沖小信號切除,輸出*性可選;帶隔離保護的晶體管開關輸出,可吸收250mA的電流,耐壓35V.(與脈沖輸出不隔離)。
5、數字通訊:RS232,RS485,HART;
6、法蘭種類:接地法蘭(或接地環)
適用范圍:適用于非導體管道,如塑料管道,但有接地電*的傳感器不需要。
法蘭種類:進口保護法蘭
適用范圍:當介質有強磨損性時選用。
液氯流量計口徑流量范圍表
液氯流量計儀表選型
儀表的選型是儀表應用中非常重要的工作,據有關資料統計,儀表在實際應用中有 2/3 的故障是儀表的錯誤選型和錯誤安裝造成的,請特別注意。具體注意事項如下:
1.被測流體名稱和其化學性能。
2.*大流量、*小流量和常用流量。推薦:常用流量應選擇在 1~3m/s 流速段內,如果不符,請用戶調整所選儀表的口徑規格。
3.*高工作壓力。
4.*高工作溫度、*低工作溫度。
5.被測流體必須具備一定的導電性,導電率≥5μs/cm。
6.*大流量和*小流量必須符合表 2-1 的數據。
7.實際*高工作壓力必須小于流量計的額定工作壓力(見傳感器銘*)。
8.*高工作溫度和*低工作溫度必須符合流量計規定的溫度要求(見傳感器銘*)。
9.確定是否有負壓情況存在。
10.電*和襯里材料的選擇應滿足流體介質的化學性能。

液氯流量計電*材料的選擇

液氯流量計襯里材料的選擇

液氯流量計正確選擇安裝位置
正確地選擇安裝位置和正確安裝流量計都是非常重要的環節,若在安裝環節失誤,輕者影響測量精度,重者會影響流量計的使用壽命,甚至會損壞流量計。選擇安裝位置時應注意以下問題:
1.測量電*的軸線必須近似于水平方向(與水平線夾角一般為 10°以內)

2.測量管道內必須完全充滿液體。
3.流量計的前方*少要有 5×D(D 為流量計內徑)長度的直管段,后方*少要有 2×D(D為流量計內徑)長度的直管段。

4.流體的流動方向和流量計的箭頭方向一致。
5.管道內要有真空會損壞流量計的內襯,需特別注意。
6.在流量計附近應無強電磁場,儀表安裝場所的磁場強度應小于 400A/m(避免安裝在大型電機或變壓器等設備附近)。
7.若測量管道有振動,在流量計的兩邊應有固定的支座。
8.測量不同介質的混合液時,混合點與流量計之間的距離*少要有 30×D(D 為流量計內徑)。
9.為方便今后流量計的清洗和維護,應安裝旁通管道。

10.安裝聚四氟乙烯內襯的流量計時,連接兩法蘭的螺栓應注意均勻擰緊,否則容易壓壞聚四氟乙烯內襯,*好用力矩扳手。
11.儀表應避免強烈振動和過大的溫度變化,同時要防止腐蝕性液體的滴漏對儀表造成損害。
12.如果安裝地點易受陽光曝曬,應當增加遮蔽設施。
13.安裝傳感器時,應保證測量管與工藝管道同軸。對 50mm 及以下公稱通徑的傳感器,其軸線偏離不超過 2mm。DN65~DN150 其軸線偏離不超過 3mm,≥DN200 其軸線偏離不超過 4mm。
14.法蘭之間加裝的法蘭墊圈,應有良好的耐腐蝕性能,該墊圈不得伸入管道內部。
15.緊固儀表螺栓、螺母,其螺紋應完整無損,潤滑良好。應依據法蘭尺寸、力矩大小采用力矩扳手緊固螺栓。
16.在傳感器鄰近管道進行焊接或火焰切割時,要采用隔離措施,防止襯里受熱,且必須確認儀表未通電運行,防止損壞儀表。
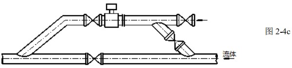
液氯流量計安裝方式
應安裝在水平管道較低處和垂直向上處,避免安裝在管道的*高點和垂直向下處。

應安裝在管道的上升處。

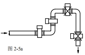
在開口排放的管道安裝,應安裝在管道較低處。若管道落差超過 5m,在傳感器的下游安裝排氣閥且傳感器的下游應有一定的背壓。

應在傳感器的下游安裝控制閥和切斷閥,而不應安裝在傳感器上游。

傳感器絕對不能安裝在泵的進口處,應安裝在泵的出口處。

在測量井內安裝流量計的方式:1.入口 2.溢流管 3. 清洗孔 4.入口柵 5. 短管 6.流量計 7.出口 8.排放閥



