服務熱線:15195518515微 信:15195518515
郵箱號碼:1464856260@qq.com
網 址:http://www.0511tao.com
地 址:淮安市金湖縣理士大道61號

智能型污水流量計
- 品*:JKM/凱銘儀表
- 型號:JKM-LDE
- 測量范圍:0.028~205258m3/h
- 精度等級:0.5級、1.0級
- 公稱通徑:DN10~DN2200
- 適用介質:污水、導電液體
- 工作壓力:1.6~6.3MPa
- 工作溫度:-20~+200℃
- 供電方式:220V 24V 鋰電池
- 訂貨號:GZEVXKMZG874
智能型污水流量計的基本概述
電磁流量計簡稱EMF,是20實踐50-60年代隨著電子技術的發展而迅速發展起來的新型流量測量儀表。它是根據法拉*電磁感應定律制成的,用來測量導電液體體積流量的儀表。由于其獨特的優點,目前已廣泛地被應用于工業工程中各種導電液體的流量測量,如各種酸、堿、鹽等腐蝕性介質;各種易燃易爆介質;污水處理以及化工、食品、醫藥等工業中的各種漿液流量測量,形成了獨特的應用領域。
智能型污水流量計原理
電磁流量計的工作原理是基于法拉*電磁感應定律。在測量管內的導電介質相當于法拉*試驗中的導電金屬桿,上下兩端的兩個電磁線圈產生恒定磁場。當有導電介質流過時,則會產生感應電壓。管道內部的兩個電*測量產生的感應電壓。
在結構上由電磁流量傳感器和轉換器兩部分組成。傳感器安裝在工業過程管道上,它的作用是將流進管道內的液體體積流量值線性地變換成感生電勢信號,并通過傳輸線將此信號送到轉換器。轉換器安裝在離傳感器不太遠的地方,它將傳感器送來的流量信號進行放大,并轉換成流量信號成正比的標準電信號輸出,以進行顯示,累積和調節控制。
電磁流量計的基本原理
1、測量原理
根據法拉*電磁感應定律,當一導體在磁場中運動切割磁力線時,在導體的兩端即產生感生電勢e,其方向由右手定則確定,其大小與磁場的磁感應強度B,導體在磁場內的長度L及導體的運動速度u成正比,如果B, L,u三者互相垂直,則
e=Blu
與此相仿.在磁感應強度為B的均勻磁場中,垂直于磁場方向放一個內徑為D的不導磁管道,由上式可見,體積流量qv與感應電動勢e和測量管內徑D成線性關系,與磁場的磁感應強度B成反比,與其它物理參數無關.這就是電磁流量計的測量原理.
需要說明的是,要使式嚴格成立,必須使測量條件滿足下列假定:
①磁場是均勻分布的恒定磁場;
②被測流體的流速軸對稱分布;
③被測液體是非磁性的;
④被測液體的電導率均勻且各向同性。
原理簡圖
1-磁*;2-電*;3-管道
智能型污水流量計產品特點
1、內部無阻流件,幾乎沒有壓力損失和流體阻塞情況。
2、無機械慣性,響應快速,流量測量范圍寬(流速0.3~12m/s)穩定性好,可以用于自動檢測、調節和程控系統。
3、測量電導率大于5u S/cm液體,測量不受流體密度、粘度、溫度、壓力和電導率變化影響,傳感器感應電壓信號與平均速呈線性關系,測量精度高。
4、精度等級:0.2級、0.5級、1.0級、1.5級。滿足不同用戶需求。
5、傳感器部分只有內襯和電*與被測液體接觸,只要選擇合適電*與內襯材料,即可耐腐蝕和耐磨損。
6、分常規型(壓力小于4.0MPa)與高壓型(壓力大于4.0MPa)。
7、插入式電磁流量計系統分為簡單安裝型與在線安裝型。
8、采用EEPPOM存儲器,測量運算數據存貯保護安全可靠。
9、采用國際先進單片機(MCU)和表面貼裝技術(SMT),性能可靠,精度高,功耗低,零點穩定,中文菜單,參數設定方便。
10、帶4~20Ma,頻率、脈沖輸出,帶報警電平輸出,帶RS485通訊接口,Hart、ModBus協議。
11、高清晰度LCD背光顯示瞬時流量,累積流量(Σ+、Σ-、ΣD)、流速、流量百分比、流量狀態(勵磁、流量、空管)等。
12、采用聚四氟乙烯或橡膠材質襯里和HC、HB、316L、Ti等電*材料的不同組合可適應不同介質的需要。
13、備有管道式、插入式等多種流量計型號。
14、防護等級:一體化結構IP65、分體結構IP68。
15、防爆等級:Exd Ⅱ BT4。
智能型污水流量計的主要技術數據
1、公稱通徑:DN6-2200mm
2、公稱壓力:0.6、1.0、1.6、2.5、4.0MPa(高壓可根據用戶要求加工)
3、精度:±0.2% ±0.5%(示值誤差)
4、測量范圍(流量):0-1m/s至0-10m/s
5、介質溫度:分體型-10℃~+80℃(PTFE和F46襯里-40℃~+180℃) 一體型-10℃~+80℃
6、環境溫度:-25℃~+60℃
7、環境濕度:5~100%RH(相對濕度)
8、介質電導率:大于20μS/cm
9、安裝:一體型、分體型
10、外殼防護等級:傳感器IP65、IP68可選(IP65:塵密、防噴水型,即可允許水龍頭 從任何方向對儀表噴水;IP68:塵密、潛水型,能長期在水中工作)轉換器IP65
11、電*結構:三電*結構、電*結構
12、被測介質*高溫度:氯丁橡膠襯里*高80℃,聚氨脂襯里*高80℃,聚四氟乙烯襯里*高180℃, 耐高溫橡膠襯里*高120℃
13、傳感器輸出信號:0-0.2mVp-p至0-2mVp-p
14、電*材料:不銹鋼OCrl8Nil2Mo2Ti、哈氏合金B、C、鈦Ti、鉭(Ta)、不銹鋼涂覆碳化鎢、特殊
15、防爆標志:ExmⅡT4,ExmdⅡBT4
智能型污水流量計儀表選型
儀表的選型是儀表應用中非常重要的工作,據有關資料統計,儀表在實際應用中有 2/3 的故障是儀表的錯誤選型和錯誤安裝造成的,請特別注意。具體注意事項如下:
1.被測流體名稱和其化學性能。
2.*大流量、*小流量和常用流量。推薦:常用流量應選擇在 1~3m/s 流速段內,如果不符,請用戶調整所選儀表的口徑規格。
3.*高工作壓力。
4.*高工作溫度、*低工作溫度。
5.被測流體必須具備一定的導電性,導電率≥5μs/cm。
6.*大流量和*小流量必須符合表 2-1 的數據。
7.實際*高工作壓力必須小于流量計的額定工作壓力(見傳感器銘*)。
8.*高工作溫度和*低工作溫度必須符合流量計規定的溫度要求(見傳感器銘*)。
9.確定是否有負壓情況存在。
10.電*和襯里材料的選擇應滿足流體介質的化學性能。

智能型污水流量計公稱通徑與流量范圍

智能型污水流量計內襯材料的選擇
應根據被測介質的腐蝕性磨損性和溫度來選擇內襯材料
智能型污水流量計電*的選擇
應根據被測流體的腐蝕性來選擇電*的材料,請查有關手冊,對于特殊流體應作腐蝕性試驗
智能型污水流量計正確選擇安裝位置
正確地選擇安裝位置和正確安裝流量計都是非常重要的環節,若在安裝環節失誤,輕者影響測量精度,重者會影響流量計的使用壽命,甚至會損壞流量計。選擇安裝位置時應注意以下問題:
1.測量電*的軸線必須近似于水平方向(與水平線夾角一般為 10°以內)

2.測量管道內必須完全充滿液體。
3.流量計的前方*少要有 5×D(D 為流量計內徑)長度的直管段,后方*少要有 2×D(D為流量計內徑)長度的直管段。

4.流體的流動方向和流量計的箭頭方向一致。
5.管道內要有真空會損壞流量計的內襯,需特別注意。
6.在流量計附近應無強電磁場,儀表安裝場所的磁場強度應小于 400A/m(避免安裝在大型電機或變壓器等設備附近)。
7.若測量管道有振動,在流量計的兩邊應有固定的支座。
8.測量不同介質的混合液時,混合點與流量計之間的距離*少要有 30×D(D 為流量計內徑)。
9.為方便今后流量計的清洗和維護,應安裝旁通管道。

10.安裝聚四氟乙烯內襯的流量計時,連接兩法蘭的螺栓應注意均勻擰緊,否則容易壓壞聚四氟乙烯內襯,*好用力矩扳手。
11.儀表應避免強烈振動和過大的溫度變化,同時要防止腐蝕性液體的滴漏對儀表造成損害。
12.如果安裝地點易受陽光曝曬,應當增加遮蔽設施。
13.安裝傳感器時,應保證測量管與工藝管道同軸。對 50mm 及以下公稱通徑的傳感器,其軸線偏離不超過 2mm。DN65~DN150 其軸線偏離不超過 3mm,≥DN200 其軸線偏離不超過 4mm。
14.法蘭之間加裝的法蘭墊圈,應有良好的耐腐蝕性能,該墊圈不得伸入管道內部。
15.緊固儀表螺栓、螺母,其螺紋應完整無損,潤滑良好。應依據法蘭尺寸、力矩大小采用力矩扳手緊固螺栓。
16.在傳感器鄰近管道進行焊接或火焰切割時,要采用隔離措施,防止襯里受熱,且必須確認儀表未通電運行,防止損壞儀表。
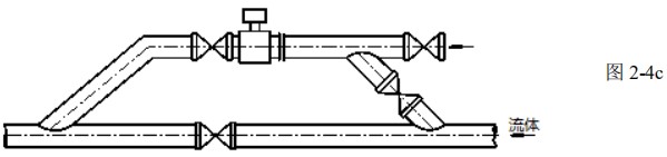
智能型污水流量計安裝方式
應安裝在水平管道較低處和垂直向上處,避免安裝在管道的*高點和垂直向下處。

應安裝在管道的上升處。

在開口排放的管道安裝,應安裝在管道較低處。若管道落差超過 5m,在傳感器的下游安裝排氣閥且傳感器的下游應有一定的背壓。

應在傳感器的下游安裝控制閥和切斷閥,而不應安裝在傳感器上游。

傳感器絕對不能安裝在泵的進口處,應安裝在泵的出口處。

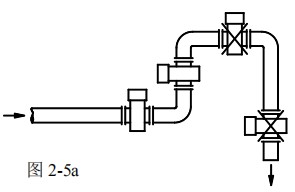
在測量井內安裝流量計的方式:1.入口 2.溢流管 3. 清洗孔 4.入口柵 5. 短管 6.流量計 7.出口 8.排放閥



