服務熱線:15195518515微 信:15195518515
郵箱號碼:1464856260@qq.com
網 址:http://www.0511tao.com
地 址:淮安市金湖縣理士大道61號

雨水流量計
- 品*:JKM/凱銘儀表
- 型號:JKM-LDE
- 測量范圍:0.028~205258m3/h
- 精度等級:0.5級、1.0級
- 公稱通徑:DN10~DN2200
- 適用介質:污水、導電液體
- 工作壓力:1.6~6.3MPa
- 工作溫度:-20~+200℃
- 供電方式:220V 24V 鋰電池
- 訂貨號:NRUDWKJCH328
雨水流量計概述
LDE系列電磁流量計除可測量一般導電液體的流量外,還可測量液固兩相流,高粘度液流及鹽類、強酸、強堿液體的體積流量。由于流量計有其獨特的優點,因此被廣泛應用于化工化纖,食品,造紙,制糖,礦冶,給排水,環保,水利水工,鋼鐵,石油,制藥等工業領域中導電液體介質的體積流量。
雨水流量計主要結構
電磁流量計由傳感器和轉換器兩部分組成(如下圖所示)。
傳感器主要由測量管、電*、勵磁線圈、絕緣襯里、殼體等部分組成。
雨水流量計的主要優點如下
1)電磁流量計的傳感器結構簡單,測量管內沒有可動部件,也沒有任何阻礙流體流動的節流部件。所以當流體通過流量計時不會引起任何附加的壓力損失,是流量計中運行能耗*低的流量儀表之一。
2)可測量贓污介質、腐蝕性介質及懸濁性液固兩相流的流量。這是由于儀表測量管內部無阻礙流動部件,與被測流體接觸的只是測量管內襯和電*,其材料可根據被測流體的性質來選擇。例如,用聚三氟乙烯或聚四氟乙烯做內襯,可測量各種酸、堿、鹽等腐蝕性介質;采用耐磨橡膠做內襯,就特別適合于測量帶有固體顆粒的、磨損較大的礦漿、水泥漿等液固兩相流以及各種帶纖維液體和紙漿等懸濁液體。
3)電磁流量計是一種體積流量測量儀表,在測量過程中,它不受被測介質的溫度、粘度、密度以電導率(在一定范圍)的影響。因此,電磁流量計只需經水標定后,就可心用來測量其它導電性液體的流量。
4)電磁流量計的輸出只與被測介質的平均流速成正比,而與對稱分布下的流動狀態(層流或湍流)無關。所以電磁流量計的量程范圍*寬,其測量范圍度可達100:1,有的甚至達1000:1的可運行流量范圍。
5)電磁流量計無機械慣性,反應靈敏,可以測量瞬時脈動流量,也可測量正反兩個方向的流量。
6)工業用電磁流量計的口徑范圍*寬,從幾個毫米一直到幾米,而且國內已有口徑達3m的實流校驗設備,為電磁流量計的應用和發展奠定了基礎。
電磁流量計目前仍然存在的主要不足如下。
1)不能用來測量氣體、蒸汽以及含有大量氣體的液體。
2)不能用來測量電導率很低的液體介質,如對石油制品或有機溶劑等介質,目前電磁流量計還無能為力。
3)普通工業用電磁流量計由于測量管內襯材料和電氣絕緣材料的限制,不能用于測量高溫介質;如未經特殊處理,也不能用于低溫介質的測量,以防止測量管外結露(結霜)破壞絕緣。
4)電磁流量計易受外界電磁干擾的影響。
雨水流量計特點
1、適用于各種導電液體的流量測量,如自來水、污水、泥漿、紙漿、各類飲料、化學原料、 粘稠液體和懸浮液。
2、測量結果不受溫度、壓力、密度、電導率等介質物理特性和工況條件的影響,其輸出信號與被測流體的體積流量成正比。
3、強腐蝕性、強磨損性介質具有良好的適應性。
4、具有優異的量程比,在低流速或流量變化幅度較大的應用領域(如自來水行業)具有良好的適用性。
5、具有正/反雙向流量測量功能。
雨水流量計執行標準及技術參數
產品執行標準
產品性能符合電磁流量計行業標準 JB/T9248-2008 及 JJG1033-2007 要求。
主要技術指標

雨水流量計儀表選型
儀表的選型是儀表應用中非常重要的工作,據有關資料統計,儀表在實際應用中有 2/3 的故障是儀表的錯誤選型和錯誤安裝造成的,請特別注意。具體注意事項如下:
1.被測流體名稱和其化學性能。
2.*大流量、*小流量和常用流量。推薦:常用流量應選擇在 1~3m/s 流速段內,如果不符,請用戶調整所選儀表的口徑規格。
3.*高工作壓力。
4.*高工作溫度、*低工作溫度。
5.被測流體必須具備一定的導電性,導電率≥5μs/cm。
6.*大流量和*小流量必須符合表 2-1 的數據。
7.實際*高工作壓力必須小于流量計的額定工作壓力(見傳感器銘*)。
8.*高工作溫度和*低工作溫度必須符合流量計規定的溫度要求(見傳感器銘*)。
9.確定是否有負壓情況存在。
10.電*和襯里材料的選擇應滿足流體介質的化學性能。

雨水流量計公稱通徑與流量范圍

雨水流量計工作原理
電磁流量計的基本測量原理是基于法拉*電磁感應定律,即導體在磁場中做切割磁力線運動時,在其兩端產生感應電動勢,如圖所示。流量計的測量管是由內襯絕緣材料的非導磁合金短管制作,兩只電*沿管徑方向穿通管壁固定在測量管上,其電*頭與襯里內表面基本齊平。勵磁線圈由雙向方波脈沖勵磁時,將在與測量管軸線垂直的方向上產生磁通量密度為B的工作磁場,此時,如果具有一定電導率的流體流經測量管,將切割磁力線,并感應出電動勢E。電動勢E正比于磁通量密度B,測量管內徑d與平均流速v的乘積。電動勢E(流量信號)由電*檢出并通過電纜送至轉換器,轉換器將流量信號放大處理后,可顯示流體流量,并能輸出脈沖、模擬電流等信號,用于流量的控制和調節。
其原理公式為:
E=KBDV
式中:
E -------- 為電*間的信號電壓(v)
B -------- 磁通密度(T)
D -------- 測量管內徑(m)
V -------- 平均流速(m/s)
K -------- 儀表系數
式中k, D為常數,由于勵磁電流是恒流,故B也是常數,則由E=KBdV可知,體積流量Q與信號電壓E成正比,即流速感應的信號電壓E與體積Q成線性關系。因此,只要測量出E就可確定流量Q,這是電磁流量計的基本工作原理。
由E=KBDV可知,被測流體介質的溫度、密度、壓力、電導率、液固兩相流體介質的液固成分比等參數不會影響測量結果。至于流動狀態只要符合軸對稱流動(如層流或者紊流)就不會影響測量結果。因此說電磁流量計是一種真正的體積流量計。只要用普通的水實際標定后,就可以測量其他任何導電流體介質的體積流量,而不需要任何修正。這是電磁流量計的一突出優點,是其他任何流量計所沒有的。測量管內無活動及阻流部件,因此幾乎沒有壓力損失,并且有*高的可靠性。
雨水流量計電*、接地環材料的選擇
應根據被測流體的腐蝕性來選擇電*的材料,請查有關腐蝕手冊,對于特殊流體應作試驗。
雨水流量計內襯材料的選擇
如電*一樣,對于不同的介質,由于其腐蝕性、溫度、磨損性不同,所以要有針對性的選擇內襯材料,下表是常用襯里材料的性能及其適用范圍
雨水流量計正確選擇安裝位置
正確地選擇安裝位置和正確安裝流量計都是非常重要的環節,若在安裝環節失誤,輕者影響測量精度,重者會影響流量計的使用壽命,甚至會損壞流量計。選擇安裝位置時應注意以下問題:
1.測量電*的軸線必須近似于水平方向(與水平線夾角一般為 10°以內)

2.測量管道內必須完全充滿液體。
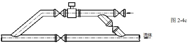
3.流量計的前方*少要有 5×D(D 為流量計內徑)長度的直管段,后方*少要有 2×D(D為流量計內徑)長度的直管段。

4.流體的流動方向和流量計的箭頭方向一致。
5.管道內要有真空會損壞流量計的內襯,需特別注意。
6.在流量計附近應無強電磁場,儀表安裝場所的磁場強度應小于 400A/m(避免安裝在大型電機或變壓器等設備附近)。
7.若測量管道有振動,在流量計的兩邊應有固定的支座。
8.測量不同介質的混合液時,混合點與流量計之間的距離*少要有 30×D(D 為流量計內徑)。
9.為方便今后流量計的清洗和維護,應安裝旁通管道。

10.安裝聚四氟乙烯內襯的流量計時,連接兩法蘭的螺栓應注意均勻擰緊,否則容易壓壞聚四氟乙烯內襯,*好用力矩扳手。
11.儀表應避免強烈振動和過大的溫度變化,同時要防止腐蝕性液體的滴漏對儀表造成損害。
12.如果安裝地點易受陽光曝曬,應當增加遮蔽設施。
13.安裝傳感器時,應保證測量管與工藝管道同軸。對 50mm 及以下公稱通徑的傳感器,其軸線偏離不超過 2mm。DN65~DN150 其軸線偏離不超過 3mm,≥DN200 其軸線偏離不超過 4mm。
14.法蘭之間加裝的法蘭墊圈,應有良好的耐腐蝕性能,該墊圈不得伸入管道內部。
15.緊固儀表螺栓、螺母,其螺紋應完整無損,潤滑良好。應依據法蘭尺寸、力矩大小采用力矩扳手緊固螺栓。
16.在傳感器鄰近管道進行焊接或火焰切割時,要采用隔離措施,防止襯里受熱,且必須確認儀表未通電運行,防止損壞儀表。
雨水流量計安裝方式
應安裝在水平管道較低處和垂直向上處,避免安裝在管道的*高點和垂直向下處。

應安裝在管道的上升處。

在開口排放的管道安裝,應安裝在管道較低處。若管道落差超過 5m,在傳感器的下游安裝排氣閥且傳感器的下游應有一定的背壓。

應在傳感器的下游安裝控制閥和切斷閥,而不應安裝在傳感器上游。

傳感器絕對不能安裝在泵的進口處,應安裝在泵的出口處。

在測量井內安裝流量計的方式:1.入口 2.溢流管 3. 清洗孔 4.入口柵 5. 短管 6.流量計 7.出口 8.排放閥



