服務熱線:15195518515微 信:15195518515
郵箱號碼:1464856260@qq.com
網 址:http://www.0511tao.com
地 址:淮安市金湖縣理士大道61號

純凈水流量計
- 品*:JKM/凱銘儀表
- 型號:JKM-LDE
- 測量范圍:0.028~205258m3/h
- 精度等級:0.5級、1.0級
- 公稱通徑:DN10~DN2200
- 適用介質:污水、導電液體
- 工作壓力:1.6~6.3MPa
- 工作溫度:-20~+200℃
- 供電方式:220V 24V 鋰電池
- 訂貨號:NGRWFPCJK150
純凈水流量計產品種類及適用范圍
電磁流量計由電磁流量傳感器和電磁流量轉換器兩大部分組成,主要分為兩大類:一體型和分離型。
電磁流量計是基于法拉*電磁感應定律原理的流量儀表,用于測量封閉管道中導電液體和漿液的體積流量。它廣泛應用于石油化工、鋼鐵冶金、給水排水、水利灌溉、水處理、環保污水、造紙、醫藥、食品等工農業部門的生產過程的流量測量和控制。

純凈水流量計產品特點
1、內部無阻流件,幾乎沒有壓力損失和流體阻塞情況。
2、無機械慣性,響應快速,流量測量范圍寬(流速0.3~12m/s)穩定性好,可以用于自動檢測、調節和程控系統。
3、測量電導率大于5u S/cm液體,測量不受流體密度、粘度、溫度、壓力和電導率變化影響,傳感器感應電壓信號與平均速呈線性關系,測量精度高。
4、精度等級:0.2級、0.5級、1.0級、1.5級。滿足不同用戶需求。
5、傳感器部分只有內襯和電*與被測液體接觸,只要選擇合適電*與內襯材料,即可耐腐蝕和耐磨損。
6、分常規型(壓力小于4.0MPa)與高壓型(壓力大于4.0MPa)。
7、插入式電磁流量計系統分為簡單安裝型與在線安裝型。
8、采用EEPPOM存儲器,測量運算數據存貯保護安全可靠。
9、采用國際先進單片機(MCU)和表面貼裝技術(SMT),性能可靠,精度高,功耗低,零點穩定,中文菜單,參數設定方便。
10、帶4~20Ma,頻率、脈沖輸出,帶報警電平輸出,帶RS485通訊接口,Hart、ModBus協議。
11、高清晰度LCD背光顯示瞬時流量,累積流量(Σ+、Σ-、ΣD)、流速、流量百分比、流量狀態(勵磁、流量、空管)等。
12、采用聚四氟乙烯或橡膠材質襯里和HC、HB、316L、Ti等電*材料的不同組合可適應不同介質的需要。
13、備有管道式、插入式等多種流量計型號。
14、防護等級:一體化結構IP65、分體結構IP68。
15、防爆等級:Exd Ⅱ BT4。
純凈水流量計的主要技術數據
1、口徑:DN15~2400mm
2、介質:導電性液體
3、襯里:氯丁橡膠、聚氨酯橡膠、聚四氟乙烯、聚全氟乙丙烯
4、流速:≤15m/s
5、勵磁方式:方波勵磁
6、電*材料:不銹鋼316L、哈氏合金C、哈氏合金B、鈦、鉭、鉑銥
7、額定壓力:0.6MPa、1.0MPa、1.6MPa、4.0MPa
8、介質溫度:氯丁橡膠:-10~60℃;聚氨酯橡膠:-10~40℃
9、聚四氟乙烯(F4):-10~120℃;聚全氟乙丙烯(F46):-10~150℃
10、介質電導率:>5μs/cm
11、準確度等級:±1.0%;±0.5%;±0.2%
12、輸出信號:4~20mA電流,脈沖頻率,上下限報警
13、通訊:RS485/RS232(可選)
14、防護等級:IP65、IP67、IP68
15、防爆等級:ExdⅡCT3-CT6
16、電纜接口:M18*1.5
17、環境條件:環境溫度:-10~50℃ 相對濕度:5%~90% 環境電磁場:≤400A/m
18、供電電源:85~250VAC;20~36VDC;3.6V電池供電
純凈水流量計轉換器技術數據
1、電源:交流 85-265V,45-400Hz,直流 11-40V;
2、操作鍵和顯示按鍵式:4個薄膜按鍵可設定選擇全部參數,也可利用PC機(RS232)對轉換器設定編程;3行LCD寬視角、寬溫、帶背光顯示;*1行顯示流量值;*2行顯示流量單位;*3行顯示流量百分比、正向總量、反向總量、差值總量、報警、流速。
操作鍵和顯示磁鍵式:2個磁鍵用于顯示參數的選擇和復位,利用PC機(RS232)對轉換器設定編程;2行LCD寬視角、寬溫、帶背光顯示;*1行:磁鍵選擇:顯示流量百分比、正向總量、反向總量、差值總量、報警、流速。*2行:顯示流量。
3、內部積算器:正向總量、反向總量及差值總量。
4、輸出信號單向模擬輸出:全隔離,負載≤600D.(20mA時);上限:0-21mA可選,每檔lmA;下限:0-21mA可選,每檔1mA;正、反向流量輸出方式編程。
輸出信號雙向模擬輸出:下限限制為。或4mA,其他同單向模擬輸出。
輸出信號雙向脈沖輸出:兩路輸出分別對應正向和反向流量,頻率0~800Hz,上限1-800Hz可選,每檔IHz;方波或選定脈寬,選定脈寬上限2.5S,每檔1ms;無源隔離晶體管開關輸出,可吸收250mA的電流,耐壓35V。
輸出信號雙路報警輸出:可報警(編程)高/低流量、空管、故障狀態、正,,反向流量、模擬量超量程、脈沖量超量程、脈沖小信號切除,輸出*性可選;帶隔離保護的晶體管開關輸出,可吸收250mA的電流,耐壓35V.(與脈沖輸出不隔離)。
5、數字通訊:RS232,RS485,HART;
6、法蘭種類:接地法蘭(或接地環)
適用范圍:適用于非導體管道,如塑料管道,但有接地電*的傳感器不需要。
法蘭種類:進口保護法蘭
適用范圍:當介質有強磨損性時選用。
純凈水流量計如何正確選型
儀表的選型是儀表應用中非常重要的工作,有關資料表明,儀表在實際應用中有2/3的故障是儀表的錯誤選型或錯誤的安裝而造成的,請特別注意。
收集數據:
1.被測流體成份
2.*大流量、*小流量
3.*高工作壓力
4.*高溫度、*低溫度
被測流體必須具備一定的導電性,導電率>5μS/CM
*大流量和*小流量必須符合下表中的數:
實際*高工作壓力必須小于流量計的額定工作壓力。
*高工作溫度和*低溫度必須符合流量計規定的溫度要求。
確定是否有負壓情況存在。
您可以根據上表中的流量選擇相應的電磁流量計,若所選擇的流量計的內徑與現在工藝管道的內徑不符,應進行縮管或擴管。
若管道進行縮管,應考慮由于縮管引起的壓力損失是否會影響工藝流程。
從產品價格考慮,可以選擇較小口徑的電磁流量計,相對減少投資。
測潔凈水時,經濟流速時1.5-3m/s,測易結晶的溶液時,應適當地提高流速,3-4m/s為宜,起到自清掃,防止粘附沉積等作用;測礦漿等磨耗性流體時,應適當降低流速,1.0-2m/s為宜,以降低對內襯和電*地磨損。實際應用很少超過7m/s,超過10m/s則更為罕見。
純凈水流量計常用絕緣內襯材料性能及適用范圍
純凈水流量計常用電*材料及使用范圍
純凈水流量計型譜

純凈水流量計正確選擇安裝位置
正確地選擇安裝位置和正確安裝流量計都是非常重要的環節,若在安裝環節失誤,輕者影響測量精度,重者會影響流量計的使用壽命,甚至會損壞流量計。選擇安裝位置時應注意以下問題:
1.測量電*的軸線必須近似于水平方向(與水平線夾角一般為 10°以內)

2.測量管道內必須完全充滿液體。
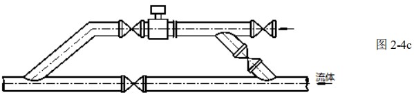
3.流量計的前方*少要有 5×D(D 為流量計內徑)長度的直管段,后方*少要有 2×D(D為流量計內徑)長度的直管段。

4.流體的流動方向和流量計的箭頭方向一致。
5.管道內要有真空會損壞流量計的內襯,需特別注意。
6.在流量計附近應無強電磁場,儀表安裝場所的磁場強度應小于 400A/m(避免安裝在大型電機或變壓器等設備附近)。
7.若測量管道有振動,在流量計的兩邊應有固定的支座。
8.測量不同介質的混合液時,混合點與流量計之間的距離*少要有 30×D(D 為流量計內徑)。
9.為方便今后流量計的清洗和維護,應安裝旁通管道。

10.安裝聚四氟乙烯內襯的流量計時,連接兩法蘭的螺栓應注意均勻擰緊,否則容易壓壞聚四氟乙烯內襯,*好用力矩扳手。
11.儀表應避免強烈振動和過大的溫度變化,同時要防止腐蝕性液體的滴漏對儀表造成損害。
12.如果安裝地點易受陽光曝曬,應當增加遮蔽設施。
13.安裝傳感器時,應保證測量管與工藝管道同軸。對 50mm 及以下公稱通徑的傳感器,其軸線偏離不超過 2mm。DN65~DN150 其軸線偏離不超過 3mm,≥DN200 其軸線偏離不超過 4mm。
14.法蘭之間加裝的法蘭墊圈,應有良好的耐腐蝕性能,該墊圈不得伸入管道內部。
15.緊固儀表螺栓、螺母,其螺紋應完整無損,潤滑良好。應依據法蘭尺寸、力矩大小采用力矩扳手緊固螺栓。
16.在傳感器鄰近管道進行焊接或火焰切割時,要采用隔離措施,防止襯里受熱,且必須確認儀表未通電運行,防止損壞儀表。
純凈水流量計安裝方式
應安裝在水平管道較低處和垂直向上處,避免安裝在管道的*高點和垂直向下處。

應安裝在管道的上升處。

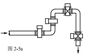
在開口排放的管道安裝,應安裝在管道較低處。若管道落差超過 5m,在傳感器的下游安裝排氣閥且傳感器的下游應有一定的背壓。

應在傳感器的下游安裝控制閥和切斷閥,而不應安裝在傳感器上游。

傳感器絕對不能安裝在泵的進口處,應安裝在泵的出口處。

在測量井內安裝流量計的方式:1.入口 2.溢流管 3. 清洗孔 4.入口柵 5. 短管 6.流量計 7.出口 8.排放閥



