服務熱線:15195518515微 信:15195518515
郵箱號碼:1464856260@qq.com
網 址:http://www.0511tao.com
地 址:淮安市金湖縣理士大道61號

循環水計量表
- 品*:JKM/凱銘儀表
- 型號:JKM-LDE
- 測量范圍:0.028~205258m3/h
- 精度等級:0.5級、1.0級
- 公稱通徑:DN10~DN2200
- 適用介質:污水、導電液體
- 工作壓力:1.6~6.3MPa
- 工作溫度:-20~+200℃
- 供電方式:220V 24V 鋰電池
- 訂貨號:NXBRBJGSC250
循環水計量表是由直接接觸管道介質的傳感器和上端信號轉換器兩部分構成。它是基于法拉*電磁感應定律工作的,用來測量電導率大于3μs/cm的導電液體的流量,是一種測量導電介質流量的儀表。除了可以測量一般導電液體的流量外,還可以用于測量強酸、強堿等強腐蝕性液體和均勻含有液固兩相懸浮的液體,如泥漿、礦漿、紙漿等。特別設計了帶背光寬屏的中.英文液晶顯示器,功能齊全實用、顯示直觀、操作使用方便,在滿足現場顯示的同時,還可以輸出4~20mA電流信號供記錄、調節和控制用,現已廣泛地應用于化工、環保、冶金、醫藥、造紙、給排水等工業技術和管理部門。
循環水計量表的主要技術數據
1、公稱通徑:DN6-2200mm
2、公稱壓力:0.6、1.0、1.6、2.5、4.0MPa(高壓可根據用戶要求加工)
3、精度:±0.2% ±0.5%(示值誤差)
4、測量范圍(流量):0-1m/s至0-10m/s
5、介質溫度:分體型-10℃~+80℃(PTFE和F46襯里-40℃~+180℃) 一體型-10℃~+80℃
6、環境溫度:-25℃~+60℃
7、環境濕度:5~100%RH(相對濕度)
8、介質電導率:大于20μS/cm
9、安裝:一體型、分體型
10、外殼防護等級:傳感器IP65、IP68可選(IP65:塵密、防噴水型,即可允許水龍頭 從任何方向對儀表噴水;IP68:塵密、潛水型,能長期在水中工作)轉換器IP65
11、電*結構:三電*結構、電*結構
12、被測介質*高溫度:氯丁橡膠襯里*高80℃,聚氨脂襯里*高80℃,聚四氟乙烯襯里*高180℃, 耐高溫橡膠襯里*高120℃
13、傳感器輸出信號:0-0.2mVp-p至0-2mVp-p
14、電*材料:不銹鋼OCrl8Nil2Mo2Ti、哈氏合金B、C、鈦Ti、鉭(Ta)、不銹鋼涂覆碳化鎢、特殊
15、防爆標志:ExmⅡT4,ExmdⅡBT4
循環水計量表選用要點
電磁流量計應用領域廣泛。大口徑儀表較多應用于給排水工程,中小口徑常用于固液雙相等難測流體或高要求場所,如測量造紙工業紙漿液和黑液、有色冶金業的礦漿、選煤廠的煤漿、化學工業的強腐蝕液體以及鋼鐵工業高爐風口冷卻水控制和監漏,長距離管道煤的水力輸送的流量測量和控制。小口徑、微小口徑常用于醫藥工業、食品工業、生物工程等有衛生要求的場所。
1、根據一體型和分離型電磁流量計的特點,選擇合適的類型。一體型流量計安裝敷線方便,精度中等,不宜在地面以下安裝,以防轉換器被水淹沒。分離型流量計,精確度較高,轉換器與傳感器異地安裝,更適合現場環境比較差(如有害、有毒、易受水淹沒等場所)的場合,但安裝、敷線較嚴格,否則易引入干擾信號。
2、選擇合適的電*形式。對于不產生結晶、結疤、不沾污電*的介質,可用標準電*,否則用式清垢電*或有清洗連接裝置的電*。對于測污泥場合,還可選用可換式電*。
3、根據被測介質的腐蝕性選擇電*材料。
電磁流量計電*選擇:
4、根據被測介質的腐蝕性、磨損性及溫度來選擇襯里材料。
5、防護等級。根據國標GB4208-1984約同于國際電工委員會IEC標準(IEC529-7B),外殼防護等級的標準為:IP65為防噴水型,即可允許水龍頭從任何方向對儀表噴水,噴水壓力為30Kpa。出水量為0.75m3/h,噴水口離儀表距離為3m;IP67為防浸水型,即儀表可全部浸入水中,*高點應在水下至少150cm,持續時間至少30min。IP68為潛水型,能長期在水下工作。根據以上規定,在地下安裝易被水淹的儀表應選IP68,儀表在地上安裝的宜選IP65。
6、根據連接儀表管道的絕緣性選擇接地。
7、根據被測介質的*高壓力選擇流量計的公稱壓力。對于介質壓力為10MPa、16MPa、25MPa、32MPa幾個等級的流量測量,應選用高壓型流量計。其*大口徑為100mm。
循環水計量表的測量原理
凱銘電磁流量計是以內襯絕緣材料做為非導磁合金短管;兩只電*沿管徑方向穿通壁固定在測量管上,其電*頭與襯里內表面基本齊平。勵磁線圈由雙向方波脈沖勱磁時,將在與測量管軸線垂直的方向上產生一磁通量密度為B的工作磁場;此時,如果具有一定電導率的液體流經測量管,將切割磁力線感應出電動勢E,電動勢E正比于磁通量密度B,測量管內徑d與平均流速V 的乘積。電動勢E(流量信號)由電*檢出并通過電纜送至轉換器。轉換器將流量信號放大處理后,可顯示流體流量,并能輸出脈沖,摸擬電流等信號,用于流量的控制和調節。
循環水計量表選型表
循環水計量表內襯材料的選擇
應根據被測介質的腐蝕性磨損性和溫度來選擇內襯材料
1、襯里材料:氯丁橡膠 Ne
耐腐蝕性能:耐一般低濃度酸堿鹽的腐蝕。
工作溫度:-20~70℃
適用范圍:工業用水污水低濃度酸堿鹽。
2、襯里材料:聚氨酯橡膠 PO
耐腐蝕性能:有*好的耐磨性能,專用于強磨損性漿液,不耐腐。
工作溫度:-10~60℃
適用范圍:含固體顆粒的液體(水泥漿礦漿等)。
3、襯里材料:聚全氟乙丙烯 FEP
耐腐蝕性能:1耐熱耐腐蝕性與PTFE相當。2機械強度高,抗磨損性能好。3內表光滑,不易粘附沉淀物。4有很好的耐負壓,抗真空作用。
工作溫度:-40~180℃
適用范圍:除砂漿等強磨損性介質外的所有流體。與PTFE一樣,能用于飲料等有衛生要求的介質。
4、襯里材料:聚四氟乙烯 PTFE
耐腐蝕性能:幾乎可以抵抗所有化學介質的腐蝕,抗磨損性能較差。
工作溫度:-40~180℃
適用范圍:不能用于負壓管道及磨損性較強的流體。
循環水計量表電*的選擇
應根據被測流體的腐蝕性來選擇電*的材料,請查有關手冊,對于特殊流體應作腐蝕性試驗
1、材料:316L不銹鋼(V)
耐腐蝕性能:1適用于工業、生活用水,原水井水,城市污水等中性溶液;2弱腐蝕性酸、堿、鹽介質如碳酸、醋酸等;
2、材料:哈氏合金C(HC)
耐腐蝕性能:1適用于耐氧化性酸,如硝酸、混酸、鉻酸與硫酸的混合物;2耐氧化性鹽類或其它氧化劑環境的腐蝕如Fe、Cu;3對海水、堿溶液,氧化物溶液有*好的耐腐蝕性;4不適用:鹽酸;
3、材料:哈氏合金B(HB)
耐腐蝕性能:1對于非氧化酸、堿、鹽如硫酸、磷酸、氫氟酸有良好的腐蝕性;2不適用:硝酸;
4、材料:鈦(Ti)
耐腐蝕性能:耐海水,各種氯化物忽然次氯酸鹽及多種氫氧化物的腐蝕;
5、材料:鉭(Ta)
耐腐蝕性能:除了氫氟酸外,幾乎能耐一切化學介質的腐蝕。但價格昂貴;
6、材料:鉑(Pt)
耐腐蝕性能:適用所有的酸堿鹽溶液(發煙硫酸及硝酸);
7、材料:碳化鎢(W)
耐腐蝕性能:具有優異的耐磨性能,專用于泥漿、紙漿等磨損性介質;
循環水計量表正確選擇安裝位置
正確地選擇安裝位置和正確安裝流量計都是非常重要的環節,若在安裝環節失誤,輕者影響測量精度,重者會影響流量計的使用壽命,甚至會損壞流量計。選擇安裝位置時應注意以下問題:
1.測量電*的軸線必須近似于水平方向(與水平線夾角一般為 10°以內)

2.測量管道內必須完全充滿液體。
3.流量計的前方*少要有 5×D(D 為流量計內徑)長度的直管段,后方*少要有 2×D(D為流量計內徑)長度的直管段。

4.流體的流動方向和流量計的箭頭方向一致。
5.管道內要有真空會損壞流量計的內襯,需特別注意。
6.在流量計附近應無強電磁場,儀表安裝場所的磁場強度應小于 400A/m(避免安裝在大型電機或變壓器等設備附近)。
7.若測量管道有振動,在流量計的兩邊應有固定的支座。
8.測量不同介質的混合液時,混合點與流量計之間的距離*少要有 30×D(D 為流量計內徑)。
9.為方便今后流量計的清洗和維護,應安裝旁通管道。

10.安裝聚四氟乙烯內襯的流量計時,連接兩法蘭的螺栓應注意均勻擰緊,否則容易壓壞聚四氟乙烯內襯,*好用力矩扳手。
11.儀表應避免強烈振動和過大的溫度變化,同時要防止腐蝕性液體的滴漏對儀表造成損害。
12.如果安裝地點易受陽光曝曬,應當增加遮蔽設施。
13.安裝傳感器時,應保證測量管與工藝管道同軸。對 50mm 及以下公稱通徑的傳感器,其軸線偏離不超過 2mm。DN65~DN150 其軸線偏離不超過 3mm,≥DN200 其軸線偏離不超過 4mm。
14.法蘭之間加裝的法蘭墊圈,應有良好的耐腐蝕性能,該墊圈不得伸入管道內部。
15.緊固儀表螺栓、螺母,其螺紋應完整無損,潤滑良好。應依據法蘭尺寸、力矩大小采用力矩扳手緊固螺栓。
16.在傳感器鄰近管道進行焊接或火焰切割時,要采用隔離措施,防止襯里受熱,且必須確認儀表未通電運行,防止損壞儀表。
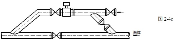
循環水計量表安裝方式
應安裝在水平管道較低處和垂直向上處,避免安裝在管道的*高點和垂直向下處。

應安裝在管道的上升處。

在開口排放的管道安裝,應安裝在管道較低處。若管道落差超過 5m,在傳感器的下游安裝排氣閥且傳感器的下游應有一定的背壓。

應在傳感器的下游安裝控制閥和切斷閥,而不應安裝在傳感器上游。

傳感器絕對不能安裝在泵的進口處,應安裝在泵的出口處。

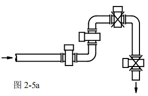
在測量井內安裝流量計的方式:1.入口 2.溢流管 3. 清洗孔 4.入口柵 5. 短管 6.流量計 7.出口 8.排放閥



