服務熱線:15195518515微 信:15195518515
郵箱號碼:1464856260@qq.com
網 址:http://www.0511tao.com
地 址:淮安市金湖縣理士大道61號
電磁流量計型號規格在無菌灌裝系統中的應用
現代社會的飛速發展,隨著人們的生活水平的提高和生活節奏的加快,出現了許多方便攜帶飲用的瓶裝、罐裝和袋裝型食品及飲料。在制藥企業中,也同樣有大量的瓶裝和袋裝的液體藥品。這些生產場合的液體飲料和液體藥品都需要無菌灌裝系統,要求灌裝裝置系統能夠快速、安全、準確地完成灌裝。相比較以前傳統的固定容積式的灌裝系統,該系統具有更穩定的安全性,包裝內容液體的衛生狀況大幅改善,無菌灌裝系統的要求使用于灌裝定量控制的方式發生了變化,一些專業灌裝用途流量計進入灌裝應用領域,這種動態在線的測量和控制方式帶來了新的挑戰,在線直接測量和控制流量的定量控制方法需要專業的流量計來滿足灌裝的特殊需求,使用中不僅需要考慮流量計本身的安裝和使用,還要綜合考慮流量計集成在系統中時和其他部分的相互影響。文章詳細介紹了灌裝用電磁流量計型號規格的特點以及使用電磁流量計型號規格的灌裝定量系統的灌裝精度的影響因素。
1.無菌灌裝系統介紹
1.1 無菌灌裝系統的要求
(1)易于清洗和消毒殺菌;(2)高產量、周期短;(3)高精度和高重復性;(4)低消耗和損耗;(5)快速處理不同產品灌裝和不同批量灌裝;(6)對產品和產品質量因素有較高的透明度;(7)不用維護或者易于維修。
1.2 無菌灌裝的設計特點
(1)機器的簡單化;(2)表面光滑、無凹凸、無死角、氣密密封性好;(3)排水流暢,無積水;(4)閉密性要好,防止外界微生物深入;(5)選擇適當材料,耐高溫、耐化學腐蝕;(6)自動化的CIP(原位清洗)/SIP(原位殺菌);(7)關鍵設備的定期養護;(8)劃分生產區域,無菌和非無菌,生產區域物料、人等隔離和管制。
1.3 灌裝定量控制
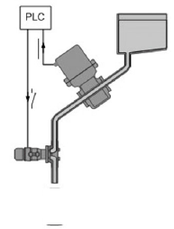
在各個分系統中,灌裝的定量控制系統是*核心的系統之一,整個灌裝機的灌裝速度和精度往往由該系統的性能所決定。灌裝定量控制系統關鍵部件包括流量計、控制器、閥門(如圖1)。灌裝量的測量由流量計完成,它能快速、準確地計量灌裝頭的連接管道中的流體流量,并把信號上傳到控制器,由控制器根據設定的定量,控制灌裝閥門的啟/停,以達到準確灌裝。
圖1 灌裝系統關鍵部件示意圖
1.4 無菌灌裝對流量計的要求
1.4.1 快速反應能力和準確的測量能力。每次灌裝通常持續2~5秒,這要求流量計的測量速度非常快,測量間隔短,只有這樣才能跟得上流量的變化曲線。
1.4.2 衛生型設計和連接。特殊的材質和連接方式。
1.4.3 CIP和SIP的要求。原位清洗和殺菌涉及到酸堿等腐蝕性介質,如果采用高溫蒸汽殺菌,則過程中會出現約140℃的溫度。
1.4.4 穩定性和重復性好。
2. Dosimag電磁流量計型號規格簡介
Dosimag系列流量計是某知名儀表公司自行研發的專業灌裝電磁流量計型號規格,能保證很高的準確性和重復性,緊湊的外形結構確保了在灌裝生產線的各個單元能安裝得很近。有快速準確的測量能力,測量周期短,測量頻率高。
Dosimag流量計的測量原理:根據法拉*電磁感應定律,因磁通量變化產生感應電動勢,閉合電路的一部分導體在磁場中做切割磁感線運動,導體中就會產生感應電流。在電磁測量原理中,流動的介質就相當于運動的導體,感應電壓和介質的流速成正比,并且通過兩個電*直接送到放大器。流體的容積通過管道的截面積可以算出。
圖2 電磁流量計型號規格原理示意圖
Ue=B×L×v
Q=A×v
Q=A×v=A×Ue/B×L
式中:Ue——感應電壓
B——磁場強度
L——磁*間距
v——流體速度
Q——流體流量
A——管道截面積
I——電流強度
從以上公式可以看出,當磁場強度和磁*間距一定時,流體流量和感應電壓成正比。
3. Dosimag流量計特性
3.1 特點
(1)快速測量能力,每秒鐘完成80次以上的準確測量;(2)流量達1.66L/s;(3)流體溫度可達130℃,半小時內耐受150℃;(4)工作壓力可達16bar;(5)可進行在線原位清洗(CIP)和在線原位殺菌(SIP);(6)特殊應用內襯:PFA(可溶性聚四氟乙烯);(7)不銹鋼外殼。
3.2 應用領域
可用于導電率大于等于5μs/cm的液體測量,如食品行業、化妝品行業、制藥行業、化學藥品行業
3.3 食品/衛生行業相關認證
3A認證/EHEDG測試/符合FDA要求。
4. 安裝方式、使用條件及注意事項
4.1 安裝條件
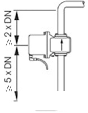
(1)進口管道長度大于5倍DN,如圖3;(2)出口管道長度大于2倍DN,如圖3;(3)傳感器和變送器必須接地;(4)傳感器在管道中居中安裝。
4.2 安裝方式及位置
灌裝流量計安裝調試簡單;對管道的震動不是很敏感。灌裝流量計只有在管道完全滿地條件下才能正確測量,基于這個原因,建議在批量生產前要做灌裝試驗。
圖3 安裝直管段示意圖
4.2.1 安裝方式一般來講有旋轉灌裝模式和線形灌裝模式,如圖4和圖5所示:
圖4 旋轉灌裝模式
圖5 線形灌裝模式
4.2.2 安裝位置。安裝在閥門附近,灌裝流量計不能安裝在控制閥的下游(圖6),如果裝在控制閥的下游,在一個灌裝周期結束后,傳感器的測量管道完全排空,這樣會嚴重影響下個周期的測量。
圖6 流量計和閥門的安裝位置示意圖(1代表灌裝流量計)
4.2.3 安裝方向。合理的安裝方向(圖7),可以避免空氣在測量管道中的堆積和存放。
圖7 安裝示意圖(1代表灌裝流量計)
4.2.4 安裝注意事項。
(1)在過熱的條件中使用時(比如在線清洗和在線消毒),強烈要求變送器裝在下面,這樣可以降低變送器部分過熱的風險,如圖8。
(2)在震動非常厲害的條件下,要確保管道和傳感器的安全。
圖8 避免變送器過熱的安裝方向示意圖
4.3 影響灌裝的一般因素
4.3.1 流量計的計量精度:該項指標受流速、灌裝持續時間、測量流體情況等影響。
表1 灌裝時間和重復性的關系
4.3.2 灌裝系統中可動部件的動作速度和機械重復性:主要是切斷閥的開啟和關閉操作的速度和一致性。
4.3.3 灌裝機械中流體的狀態穩定性,包括溫度變化(影響密度)、背壓是否穩定(影響流速)、液位高低。
4.3.4 控制系統的工作方式和控制程序設計是否優化。
5. Dosimag灌裝流量計的實際應用問題分析
下面以灌裝流量計在國內某企業使用過程中出現重復性差的問題為例來分析。
5.1 現場灌裝的基本情況
直線式灌裝模式,灌裝機上安裝有20臺Dosimag5BH12/15,分別對應于20根灌裝頭,如圖5所示的線性安裝方式;灌裝液體來自于設備上方的儲罐,通過下流管道進入兩路分流支總管(DN40),每分流支總管下帶10個DN15的灌裝管;流量計后方,灌裝口上方100mm處安裝有氣動切斷閥(結構較特殊,兩級行程,切斷閥桿位于管道內流體中);每次灌裝約220mL,但是誤差不穩定,從偏差1~2mL到5~6mL。
5.2 該應用中影響精度的原因
電磁流量計型號規格屬于速度式流量儀表,它通過測量管道流速來計算體積流量,流速的突變會一定程度增大測量誤差。本應用中,影響精度的原因是管道內的液體流速,通過試驗分析液體的流速受以下三個方面的影響。
5.2.1 工藝影響。管道的選型和排設對液體的流速會有影響。如本應用中,如果下流管道進入兩路分流支總管遠小于DN40,那么流過各灌裝管內的液體流速會有比較大的偏差,選用合適的總支管和正確的排設,可以改善灌裝管內液體流速的不平衡性。
5.2.2 其他元件的影響。在無菌灌裝系統中,一般用到四種閥,即定量閥(加料閥)、導向閥、壓力控制閥、控制閥。
在灌裝系統中用到快速切斷閥(定量閥)來控制灌裝的啟停。快速切斷閥的控制原理:當電磁閥接收到PLC的輸出信號(由PLC采集灌裝流量計的脈沖信號后處理的輸出信號)時開始動作,通過執行機構帶動閥桿和閥芯向上運動,閥芯和閥座分開,流體通過閥座進入灌裝管道,開始灌裝,當電磁閥接收到PLC輸出信號關閉閥門時,閥桿向下運動,帶動閥芯向下運動,使閥芯和閥座接觸,從而切斷流體達到結束灌裝。本應用中控制閥的閥桿在管道中,流體從上向下流經整個閥體,閥桿的動作行程分兩級,對應于小流量和較大流量。
開啟時,閥桿向上抬起,逆流而上,對于管道中的流體造成逆沖,瞬間減小管道流速;相對速度越大,影響越大;閉合時,閥桿向下壓下,對于管道中的流體產生加速,瞬間增大管道流速(圖9)。
本應用中的灌裝控制閥有兩級行程,在從小流量變換為大流量時,閥桿的二次動作使管道內的流速顯著減小,增大了測量誤差(圖9)。灌裝控制閥的結構和工作方式,影響了管道中的液體流速,是誤差的主要形成因素來源。但試驗證明,可以通過調整閥桿的行程來改善。
圖9 未加處理的閥門二行程的流量曲線。
5.2.3 液位控制及背壓控制。液位和背壓影響灌裝過程中的流速,流速的波動會造成灌裝量的波動。該波動的影響主要體現在系統發出閥門切斷指令到閥門完全關閉的延遲時間段中。
本灌裝系統中的上部罐體尺寸較小,約60L。如果液位控制在80%,則上部的氣體空間為12L,下部液體空間為48L;若每次灌裝250mL,2s內完成,則20個瓶需要5000mL,即5L,對液位的影響為8%,對氣壓的影響為5L/12L=40%;由于灌裝有間歇性停頓,對于液位和背壓的自動控制來說,過程為非連續穩定狀態,控制的難度比一般過程要大(壓力變送器上看到有壓力值的變化,實際上可能有1~2秒鐘以內的阻尼,實際過程中的快速波動可能更大)。
灌裝頭由于安裝灌裝控制閥的需要,在灌裝控制閥及下部的灌裝頭共約400mm。
部分為DN25的管道,灌裝流量計及流量計之上的管道內徑為15mm/16mm。二者管道截面積相差近2倍。在穩定流量下,則這兩部分的流速相差近2倍,表現為流量計處快,下部管道內慢。考慮到閥桿的影響,則流速相差約1倍。
灌裝頭的*終出口部分為10~14mm的可更換縮口。通過縮口,可以產生背壓,一般縮口內置蜂窩狀虹吸管,保證灌裝前后的管道滿管。從測試的流量波形上看,10mm的灌裝頭產生適當的阻尼效果,流量曲線較穩定。
5.3 解決方案
方案1:采用灌裝閥一級控制,即采用小流量行程的單次開啟和閉合。
測試結果:流量平穩度增加,灌裝的誤差顯著減小。
方案2:對灌裝閥的*二次行程變化進行控制,通過減緩閥的氣動排氣,降低閥桿*二次上臺的速度,見圖10:
圖10 增加排氣過濾閥,減緩小流量轉大流量時的閥桿上抬速度后的流量曲線
方案3:適當降低液位,如控制在50%或更低,以減小批次灌裝對背壓的影響,同時有助于提高背壓穩定性。
6 結語
從本文的分析可以看出,灌裝流量計作為測量的關鍵元件,它是保證罐裝精度實現的要素之一,整個罐裝系統的設計在滿足無菌灌裝的工藝要求和生產效率要求的前提下,必須考慮如何保證罐裝流量計穩定、可靠地工作以及如何選用合適的部件,如控制閥,并優化控制方式,將各種可能的干擾因素降到*低,以實現系統誤差*小。


